• Privacy Policy

News & Promotions

What's going on in your world?

  • Automotive
  • Entertainment
  • Education
  • Financial
  • Health
  • Home Builder
  • Humor & Memes
  • Insurance
  • Parenting
  • Restaurants
  • Shopping
    • Coupons
    • Special Offer
  • Sports
  • Technology
  • Travel
    • Transportation
    • Weather
  • Mobile Apps
You are here: Home / Technology / New Google Glass Could Look Like A Monocle ?

New Google Glass Could Look Like A Monocle ?

November 27, 2015 By Ellen Smith

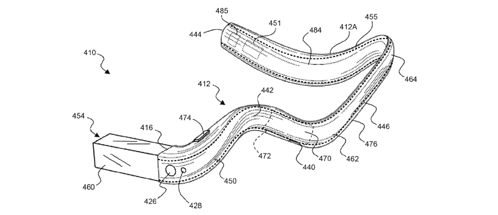
Get ready for the Google Monocle. The U.S. Patent and Trademark Office has granted a new patent to Google for a potential upcoming version of Google Glass. The best way to put it is that it doesn’t look like a pair of glasses anymore — it’s a glorious monocle that wraps around your head.

Here’s an abstract from the patent:

The band is adjustable such that it can be configured by a user to contact the head of the user at a first location near a temple, a second location along a portion of the user’s ear adjacent the temple, and at a third location along a rear position of the head of the user.

Once you configure it, Glass should retain its configuration. The question is whether this will be enough to revive interest for this device.

As a reminder, Google halted sales of Glass back in January. The company later said that it needed to “pause” and “reset” development of the device.

In March, we reported that Google was looking for new areas of opportunity for Glass. In particular, Google could sell Glass to enterprise customers.

But the company has been mostly silent since then. It’s unclear whether Google is still working on software and hardware improvements. But it looks like today’s new patent proves that Google hasn’t given up just yet.

Screen Shot 2015-11-27 at 13.46.38

Via The Next Web

Source link

Filed Under: Technology

Please Follow & Like Us :)

Facebook
Facebook
fb-share-icon
Twitter
Visit Us
Follow Me
Tweet
RSS

Recent Posts

Colonial Pipeline reportedly paid millions for slow-ass decryption software

When it comes to ransomware, you don't always get … [Read More...]

Advanced tax strategies for startup founders

Peyton Carr is a financial advisor to founders, … [Read More...]

Here’s How To Add Pronouns To Your Instagram Profile In A Few Simple Steps

Instagram is making it so much easier to share … [Read More...]

Copyright © 2026 · News & Promotions, 538 W. 21 St. #91289 Houston, TX 77008-3642 · All rights reserved · Unsubscribe · Log in

Go to mobile version